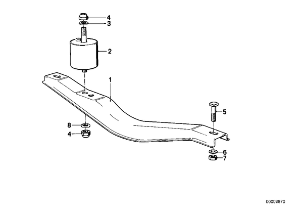
Крепление коробки передач/крепление для БМВ E23, модель 745i
| № | Наименование | Дополнение | Кол-во | Вып. с | Вып. до | Номер | AE |
|---|---|---|---|---|---|---|---|
| 01 | Поперечина рамы | 1 | 23711126854 | E | |||
| 02 | Резинометаллический шарнир | 2 | 23711175732 | ||||
| 03 | Прокладочная шайба | A10,5X22 | 1 | 31111114348 | |||
| 04 | Гайка шестигранная самоконтрящаяся | M10 | 2 | 07129964672 | |||
| 05 | Болт с квадратной головкой | M8X18 | 1 | 23711130250 | |||
| 06 | Прокладочная шайба | A8,4X25 | 2 | 23711246623 | E | ||
| 06 | Прокладочная шайба | A8,4X25 | 2 | 07147201571 | |||
| 07 | Гайка шестигранная | M8-8-ZNNIV SI | 2 | 07119905515 | |||
| 08 | Упругая шайба | B10-ZNS | 2 | 04.1986 | 07119932122 | E | |
| 08 | Упругая шайба | B10-ZNS3 | 2 | 07119904463 |