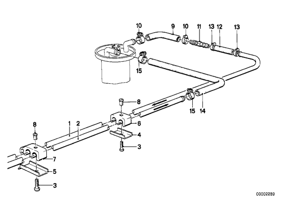
Система подачи топлива/трубопроводы для БМВ E28, модель 518
| № | Наименование | Дополнение | Кол-во | Вып. с | Вып. до | Номер | AE |
|---|---|---|---|---|---|---|---|
| 01 | подводящий трубопровод | 1 | 16121178468 | ||||
| 03 | Самонарезающий винт | X | 34321119239 | ||||
| 04 | Кронштейн | X | 16121155060 | ||||
| 06 | Зажим | X | 16121107928 | ||||
| 07 | Держатель провода | X | 16121118686 | ||||
| 08 | втулка | X | 41121877025 | AE | |||
| 12 | Топливный шланг | 8X13MM | X | 06.1996 | 13311722262 | E | |
| 12 | Топливный шланг | 8X13MM | X | 16121180409 | |||
| 13 | хомут | L12-15 | 2 | 07129952104 |