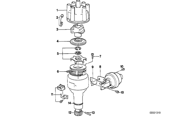
Детали распределителя зажигания для БМВ E28, модель 525i
| № | Наименование | Дополнение | Кол-во | Вып. с | Вып. до | Номер | AE |
|---|---|---|---|---|---|---|---|
| 01 | Крышка распределителя зажигания | 1 | 12111363422 | E | |||
| 01 | Крышка распределителя зажигания | 1 | 12111363292 | ||||
| 02 | Фиксирующая пружина | 2 | 12111361590 | ||||
| только в комбинации с | |||||||
| -- | Петля крепления | 2 | 12119058411 | ||||
| 03 | Ротор распределителя зажигания | 1000-OHM | 1 | 12111286111 | |||
| 04 | Комплект пылезащитных колпачков | 1 | 12111355632 | ||||
| 05 | Колесо импульсного датчика | 1 | 12111286131 | ||||
| 06 | импульсный датчик | 1000-OHM | 1 | 12111277536 | |||
| 07 | Болт с цилиндрической головкой | 3 | 12111706435 | E | |||
| 08 | Вакуумный регулятор | 1 | 12111707319 | E | |||
| 09 | Кронштейн | 1 | 12111269269 | E | |||
| 10 | винт | M4X6 | 3 | 12111361964 | |||
| 11 | Комплект дополнительных элементов | 1 | 12111286130 | E | |||
| 12 | Шестерня винтовая | 1 | 12118630126 | ||||
| 13 | Просечной конический штифт | 4X20 | 1 | 07119943082 | |||
| 14 | Кольцо круглого сечения | 1 | 12118530508 |