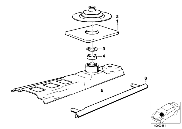
Механизм переключения передач МКПП для БМВ E30, модель 318i M10
| № | Наименование | Дополнение | Кол-во | Вып. с | Вып. до | Номер | AE |
|---|---|---|---|---|---|---|---|
| 01 | Демпфирующая пластина | 1 | 09.1985 | 25111220312 | |||
| 02 | гофрированный кожух | 1 | 09.1985 | 25111220581 | |||
| 03 | Стопорное кольцо | 1 | 09.1985 | 23411466112 | |||
| 04 | Сферический вкладыш Нж | 1 | 09.1985 | 25111207744 | |||
| 05 | Стержень опоры рычага переключен.передач | 1 | 09.1985 | 25111220316 | |||
| 06 | Тяга привода пер.передач прямая | L=288MM | 1 | 09.1985 | 25111220501 |