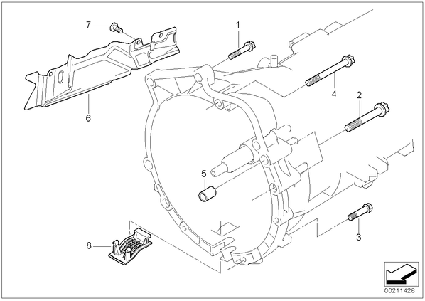
Крепление/дополнит.элементы КПП для БМВ E90, модель 335xi
| № | Наименование | Дополнение | Кол-во | Вып. с | Вып. до | Номер | AE |
|---|---|---|---|---|---|---|---|
| 01 | Винт Torx | M12X50-8.8-ZNS3 | 2 | 23001222891 | |||
| или | |||||||
| 02 | Винт Torx | M12X75 | 5 | 23001222893 | |||
| 03 | Болт Asa | M8X50-8.8-ZNS3 | 3 | 23001222887 | |||
| 04 | Болт Asa | M10X85-8.8-ZNS3 | 1 | 07129903800 | |||
| 05 | Центрирующая втулка | D=14,5MM | 2 | 11117524470 | |||
| 06 | Теплоизоляционный экран | 1 | 24007541834 | ||||
| 07 | Болт с шестигранной головкой с шайбой | M6X12-U1-8.8 | 3 | 07119904517 | |||
| 08 | Колпачок | 1 | 24147567139 |