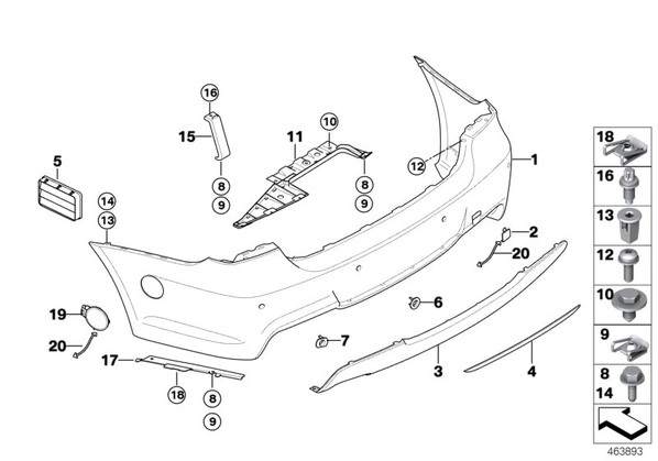
Облицовка M Зд для БМВ E90, модель 320i N46N
| № | Наименование | Дополнение | Кол-во | Вып. с | Вып. до | Номер | AE |
|---|---|---|---|---|---|---|---|
| 01 | Облицовка заднего бампера,загрунтован. | -M- | 1 | 51127906501 | |||
| только в комбинации с | |||||||
| -- | К-т доп.элементов заднего бампера | VALUE LINE | 1 | 51122410021 | |||
| При заказе указывать цветовой индекс | |||||||
| 01 | Облицовка заднего бампера,окрашенная | CODE - UNI/MET. | 1 | 51120033540 | E | ||
| только в комбинации с | |||||||
| -- | К-т доп.элементов заднего бампера | VALUE LINE | 1 | 51122410021 | |||
| Для автомобилей с | |||||||
| Сигнал.авар.сближ.при парковке Зд (PDC) | S507A = да | ||||||
| или | |||||||
| Сигнализация авар.сближен.при парк.(PDC) | S508A = да | ||||||
| 01 | Облицовка заднего бампера,загрунтован. | -M- | 1 | 51128041139 | |||
| только в комбинации с | |||||||
| -- | К-т доп.элементов заднего бампера | VALUE LINE | 1 | 51122410021 | |||
| Для автомобилей с | |||||||
| Сигнал.авар.сближ.при парковке Зд (PDC) | S507A = да | ||||||
| или | |||||||
| Сигнализация авар.сближен.при парк.(PDC) | S508A = да | ||||||
| При заказе указывать цветовой индекс | |||||||
| 01 | Облицовка заднего бампера,окрашенная | CODE - UNI/MET. | 1 | 51120033541 | E | ||
| только в комбинации с | |||||||
| -- | К-т доп.элементов заднего бампера | VALUE LINE | 1 | 51122410021 | |||
| 02 | Крышка буксирной проушины загрунтов. | -M- | 1 | 51128041134 | |||
| 03 | Накладка СР НЖ | -M- | 1 | 09.2008 | 51127906504 | ||
| 04 | Накладка | -M- | 1 | 51128040152 | |||
| 05 | Накладка заднего вентиляционного канала | SCHWARZ | 2 | 64226962293 | |||
| только в комбинации с | |||||||
| -- | Лента крепления | 2 | 51111973721 | ||||
| Для автомобилей с | |||||||
| Сигнал.авар.сближ.при парковке Зд (PDC) | S507A = да | ||||||
| или | |||||||
| Сигнализация авар.сближен.при парк.(PDC) | S508A = да | ||||||
| 06 | Крепление PDC ЗВЛ | 1 | 51128040169 | ||||
| Для автомобилей с | |||||||
| Сигнал.авар.сближ.при парковке Зд (PDC) | S507A = да | ||||||
| или | |||||||
| Сигнализация авар.сближен.при парк.(PDC) | S508A = да | ||||||
| 06 | Крепление PDC ЗВП | 1 | 51128040170 | ||||
| Для автомобилей с | |||||||
| Сигнал.авар.сближ.при парковке Зд (PDC) | S507A = да | ||||||
| или | |||||||
| Сигнализация авар.сближен.при парк.(PDC) | S508A = да | ||||||
| 07 | Держатель PDC сзади снаружи слева | 1 | 51128040153 | ||||
| Для автомобилей с | |||||||
| Сигнал.авар.сближ.при парковке Зд (PDC) | S507A = да | ||||||
| или | |||||||
| Сигнализация авар.сближен.при парк.(PDC) | S508A = да | ||||||
| 07 | Держатель PDC сзади снаружи справа | 1 | 51128040154 | ||||
| 08 | Саморез с шестигранной головкой с шайбой | ST4,8X16MM | X | 07147129160 | |||
| 09 | Гайка с пружинным зажимом C самоконтр. | ST 4.8 -ZNS3 | X | 07146951655 | |||
| 12 | Винт со сферо-цилиндрической головкой | ISA | 2 | 07149116376 | |||
| 13 | Распорная гайка | L=15MM, DMAX=12 | 2 | 07146976114 | |||
| 14 | Винт со сферо-цилиндрической головкой | 2 | 07147118369 |