Огнетушитель порошковый для БМВ E36, модель 316i M43
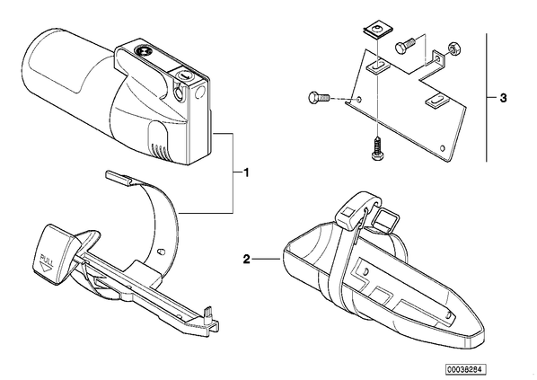
| № | Наименование | Дополнение | Кол-во | Вып. с | Вып. до | Номер | AE |
|---|---|---|---|---|---|---|---|
| 01 | Комплект дооснащ.огнетушителя порошок | 1 KG | 1 | 72600000335 | |||
| 02 | Кронштейн | 1,3 KG | 1 | 72601945556 | E | ||
| 03 | єЮЬЯЫХЪв нЫХЬХЭвЮТ ЪаХЯЫХЭШп ЮУЭХвгиШв. | 1 | 72609413436 | E | |||
| Для автомобилей с | |||||||
| Регулировка сиденья Пд с э/приводом | S458A = да | ||||||
| или | |||||||
| Спортивное сиденье | S481A = да | ||||||
| 03 | єЮЬЯЫХЪв нЫХЬХЭвЮТ ЪаХЯЫХЭШп ЮУЭХвгиШв. | 1 | 72609400643 | E |