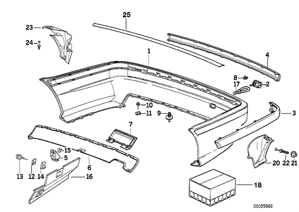
Запчасти из Германии / Запчасти БМВ / Запчасти E36 / 318i M43 / Группы запчастей / Группа 51 «Оснащение кузова» / Облицовка Зд Облицовка Зд для БМВ E36, модель 318i M43 № Наименование Дополнение Кол-во Вып. с Вып. до Номер AE подходит только к исполн. dunkel-grau ***** 01 Облицовка бампера Зд 1 09.1996 51128135363 подходит только при загрунтованном исполнении 01 Облицовка бампера Зд 1 09.1996 51128135363 подходит только при загрунтованном исполнении 02 Крышка буксирной проушины HELLGRAU 1 51128119216 подходит только при загрунтованном исполнении 02 Крышка буксирной проушины DUNKELGRAU 1 51128119217 05 Направляющая 2 51121977771 06 Обшивка 1 51121977384 Для автомобилей с Тягово-сцепное устройство 06 Обшивка 1 51128119270 Для автомобилей с Тягово-сцепное устройство 07 Крышка 1 51121977383 08 Скоба 2 51711910956 09 заклепка с распорной втулкой X 17111712963 09 Насечная заклепка черная L=15MM X 51111944537 10 Саморез с шестигранной головкой ST4,8X13-C-U1-Z 2 07119906128 11 Листовая гайка ST 4,8-8-ZNS 2 07129904227 12 Листовая гайка ST4,8-13-ZNS3 4 07129904223 13 Саморез с шестигранной головкой ST4,8X19-C-Z2 4 07119916949 14 Листовая гайка ST4.8-2 4 07129925736 15 Пластмассовая гайка M6 1 16131176747 16 Изоляционная деталь 1 51481960722 17 Буксирная проушина 1 72158119188 18 Комплект дополнительных элементов 1 51129059462 20 Щиток 1 51718122069 21 Пластмассовая гайка 1 51711958025 22 заклепка с распорной втулкой D = 6MM 3 51111908077 23 Щиток, защищающий от ударов камней 1 16131182779 24 заклепка с распорной втулкой D = 6MM 3 51111908077