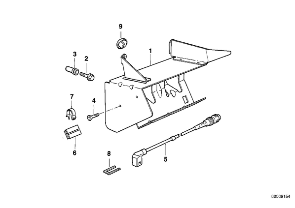
отдельные детали чейнджера CD-6 для БМВ E36, модель 318ti M42
| № | Наименование | Дополнение | Кол-во | Вып. с | Вып. до | Номер | AE |
|---|---|---|---|---|---|---|---|
| 01 | Кронштейн CD-чейнджера | 1 | 65128369926 | ||||
| 02 | Болт с шестигранной головкой | M6X12 | 4 | 07119913013 | |||
| 03 | Шайба глухой заклепки с потайн. головкой | M6 | 4 | 52201975880 | |||
| 04 | Винт со сферо-цилиндрической головкой | M4X10 | 4 | 07119907592 | |||
| 05 | Соединительный кабель CD-чейнджера | 4000MM | 1 | 09.1996 | 65128360672 | ||
| 05 | Соединительный кабель CD-чейнджера | 4000MM | 1 | 65128360672 | |||
| 06 | Кронштейн разъема weiss | 1 | 61131378997 | ||||
| 07 | Держатель провода | 2 | 61131378529 | ||||
| 08 | Зажим корпуса вилки разъема | 1 | 61131390431 | ||||
| 09 | Защитный колпак | 1 | 65128362100 |