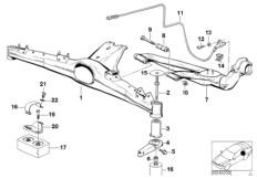
33_1964
редуктор главной передачи
 |
33_1969
Крышка карт.редукт.зад.моста/ имп.датчик
 |
33_0461
Подшипники фланца, ст.привода/упл.кольцо
 |
33_1968
Подшипники выход.фланца дифф./уплот.кол.
 |
33_1106
выходной вал
 |
33_0999
Балка заднего моста/подвеска колеса
 |
33_1966
Полуось задн.моста/подшипн.ступ.колеса
 |
33_1967
Детали амортизационной стойки Зд
 |
33_0856
Комплект бочкообразных пружин
 |
33_1963
стабилизатор задний
 |