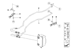
17_0275
Трубопровод радиатора охл.масла КПП
 |
17_0276
Элементы крепл.радиатора водян.охлажд.
 |
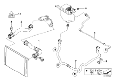
17_0271
Радиатор охл.гидр.жидк.усил.рул.привода
 |
17_0272
Бачок охлаждающей жидкости
 |
17_0284
Кожух вентилятора/вентилятор
 |
17_0795
Шланги системы охлаждения
 |
17_0796
Шланги системы охлаждения
 |
17_0273
Водяной шланг системы охлаждения
 |
17_0274
Водяной шланг системы охлаждения
 |