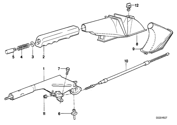
Рычаг стояночного тормоза для БМВ E34, модель 520i
| № | Наименование | Дополнение | Кол-во | Вып. с | Вып. до | Номер | AE |
|---|---|---|---|---|---|---|---|
| 01 | Рычаг стояночного тормоза | 1 | 34411156292 | ||||
| 02 | Рукоятка рычага ст.тормоза пластмасса | 1 | 34411116435 | ||||
| 03 | Резиновая шайба | 1 | 34414045712 | ||||
| 04 | Пружина сжатия | 1 | 34411150662 | ||||
| 05 | Кнопка | 1 | 34411152393 | ||||
| 06 | Направляющая | 1 | 34411117897 | ||||
| 07 | Болт с шестигранной головкой с шайбой | M8X18-SB-Z1 | 2 | 07119915072 | |||
| 08 | Защитный колпачок | 1 | 34411156461 | ||||
| 09 | Чехол рычага стояночного тормоза кожа | KARMESINROT | 1 | 34411159211 | E | ||
| 09 | Щиток | SILBER | 1 | 09.1990 | 34411157830 | E | |
| 09 | Чехол рычага стояночного тормоза кожа | SILBER | 1 | 09.1990 | 34411156724 | E | |
| 09 | Щиток | INDIGO | 1 | 09.1990 | 34411157831 | E | |
| 09 | Щиток | HAVANNA | 1 | 09.1990 | 34411157832 | E | |
| 09 | Щиток | NATUR | 1 | 09.1990 | 34411157833 | E | |
| 09 | Щиток | 0293 INDIGO | 1 | 09.1990 | 34411158171 | E | |
| 09 | Щиток | SCHWARZ | 1 | 34411157829 | E | ||
| 10 | Трос стояночного тормоза | 2 | 34411162005 | ||||
| 11 | Гайка шестигранная самоконтрящаяся | M6 | 2 | 34411152614 | E | ||
| 11 | Гайка шестигранная самоконтрящаяся | M6 | 2 | 07146778500 | |||
| 12 | Вращающаяся ручка | 1 | 63211376879 |