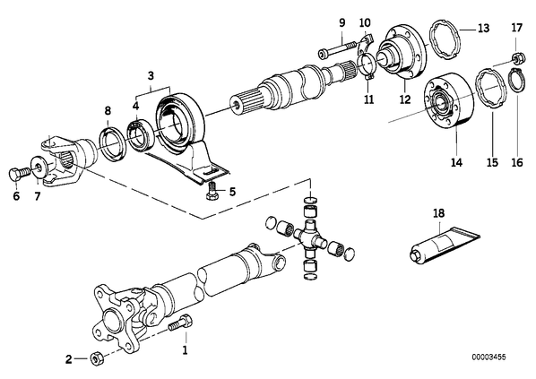
Запчасти из Германии / Запчасти БМВ / Запчасти E34 / 525i M50 / Группы запчастей / Группа 26 «Карданный вал» / ШРУС промежут.опоры карданного вала ШРУС промежут.опоры карданного вала для БМВ E34, модель 525i M50 № Наименование Дополнение Кол-во Вып. с Вып. до Номер AE 01 Винт с накатанной головкой M10X25 4 10.1991 26111206718 02 Гайка шестигранная самоконтрящаяся M10 4 10.1991 07129964672 03 Промежуточная опора 55X13X30 1 10.1991 26121226723 04 Радиальный шарикоподшипник D=55/D=30 1 10.1991 26121225071 05 Болт с шестигранной головкой с шайбой M8X20-ZNS3 2 10.1991 07147165618 06 Болт с шестигранной головкой M12X1,5X25 1 10.1991 07119911694 07 Прокладочная шайба D=36MM/ZNS 1 10.1991 26111229489 E 07 Прокладочная шайба D=36MM/ZNS3 1 10.1991 26117572710 08 Пыльник D=30X58X5,5-CRH 1 10.1991 26111225088 09 Болт с накатанной головкой M8X60 6 10.1991 26101227930 10 Подкладная пластина D=9MM/PHR 3 10.1991 26111225016 11 Стяжная лента D=34MM 1 10.1991 26117542264 12 гофрированный кожух 1 10.1991 26111225015 13 Уплотнительная шайба VL-93 1 10.1991 26111229502 14 ШРУС с болтом с накатанной головкой LK=86MM (Z=25) 1 10.1991 26111229075 LK=диаметр окр., прох.ч.центры креп.отв. Z=количество зубьев 15 Уплотнительная шайба VL-93 1 10.1991 26111229502 16 пружинное стопорное кольцо 22,5X1,2 1 10.1991 26111225017 17 Гайка шестигранная самоконтрящаяся M8 6 10.1991 07129922716 18 Смазочный материал Optitemp 2 LN 584 LO 100G 1 10.1991 83190447919