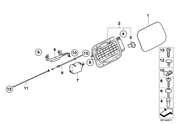
Заслонка заливного отверстия для БМВ E60, модель 520i
| № | Наименование | Дополнение | Кол-во | Вып. с | Вып. до | Номер | AE |
|---|---|---|---|---|---|---|---|
| 01 | Заслонка заливного отверстия загрунтов. | 1 | 51177034281 | ||||
| 02 | Защитный кожух | 1 | 51177183712 | ||||
| 03 | Упорный буфер с выталкивателем | 1 | 51178228939 | ||||
| 04 | Пробка | 4 | 51177044256 | ||||
| 05 | Кронштейн ЦЗ заслонки заливного отв. | 1 | 51177072202 | ||||
| 06 | Винт Torx | M6X12 | 2 | 07147154224 | |||
| 07 | Сервопривод | 1 | 09.2006 | 67116988089 | |||
| 08 | Болт Torx для пластмассовых деталей | L=16MM | 2 | 07146958583 | |||
| 09 | Трос заслонки заливного отверстия | 1 | 51257066025 | ||||
| 10 | Хомут | 1 | 52101919476 | ||||
| 11 | Стяжной хомут аварийного привода | 1 | 51258234140 | ||||
| 12 | Аварийный привод | 1 | 51258234143 | ||||
| 13 | Резиновая втулка | 1 | 51257075026 |