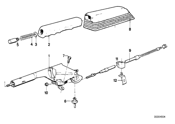
Стояночный тормоз/управление для БМВ E30, модель 316i
| № | Наименование | Дополнение | Кол-во | Вып. с | Вып. до | Номер | AE |
|---|---|---|---|---|---|---|---|
| 01 | Рычаг стояночного тормоза | 1 | 34411154107 | E | |||
| 02 | Рукоятка рычага стояночного тормоза | SCHWARZ | 1 | 34411153277 | |||
| 03 | Резиновая шайба | 1 | 34414045712 | ||||
| 04 | Пружина сжатия | 1 | 34411150662 | ||||
| 05 | Кнопка | 1 | 34411152393 | ||||
| 06 | Направляющая | 1 | 34411117897 | ||||
| 07 | Болт с шестигранной головкой с шайбой | M8X18-SB-Z1 | 2 | 07119915072 | |||
| 08 | Чехол рычага стояночного тормоза | SCHWARZ | 1 | 34411154166 | |||
| 09 | Приводной трос | 2 | 34411158421 | ||||
| 10 | Гайка шестигранная самоконтрящаяся | M6 | 2 | 34411152614 | E | ||
| 10 | Гайка шестигранная самоконтрящаяся | M6 | 2 | 07146778500 | |||
| 11 | Держатель провода | 2 | 34411154158 | ||||
| 12 | Крепежный уголок | 2 | 34411153880 |