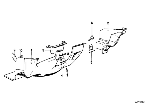
Облицовка панели приборов Нж для БМВ E28, модель 533i
| № | Наименование | Дополнение | Кол-во | Вып. с | Вып. до | Номер | AE |
|---|---|---|---|---|---|---|---|
| 01 | Облицовка Л Нж | MOCCA | 1 | 09.1982 | 51451900645 | E | |
| 01 | Облицовка Л Нж | PERGAMENT | 1 | 09.1982 | 51451900647 | E | |
| 01 | Облицовка Л Нж | ANTHRAZIT | 1 | 51451900643 | |||
| 02 | Облицовка П Нж | 1 | 51451875862 | ||||
| 03 | Накладка | MOCCA | 1 | 09.1982 | 51451888065 | E | |
| 03 | Накладка | PERGAMENT | 1 | 09.1982 | 51451888066 | E | |
| 03 | Накладка | ANTHRAZIT | 1 | 51451888064 | E | ||
| 04 | Уголок | 1 | 51451874939 | E | |||
| 07 | Винт самонарезающий со сферич.головкой | ST4,2X19 | X | 51431874616 | |||
| 08 | Листовая гайка | ST4,2-1 | X | 05.1999 | 07129925709 | AE | |
| 08 | Листовая гайка | 4,2-1-ZNS | X | 07129901644 | AE | ||
| 08 | Листовая гайка | 4,2-1-ZNS3 | X | 07129904220 | |||
| 09 | Кронштейн | 1 | 51451917358 | E |