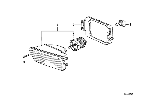
фары противотуманные для БМВ E32, модель 740iL
| № | Наименование | Дополнение | Кол-во | Вып. с | Вып. до | Номер | AE |
|---|---|---|---|---|---|---|---|
| 01 | Противотуманная фара Л | 1 | 09.1990 | 63171390883 | E | ||
| 01 | Противотуманная фара П | 1 | 09.1990 | 63171390884 | E | ||
| 02 | Крепление Л | 1 | 09.1990 | 63171379111 | |||
| 02 | Крепление П | 1 | 09.1990 | 63171379112 | |||
| 03 | Лампа накаливания ближн.света/противотум | HB4 12V 51W | 2 | 09.1990 | 02.2003 | 63121382496 | E |
| 03 | Лампа накаливания ближн.света/противотум | HB4 12V 51W | 2 | 09.1990 | 02.2003 | 63216926916 | E |
| 03 | Лампа накаливания ближн.света/противотум | HB4 12V 55W | 2 | 09.1990 | 63217160786 | ||
| 04 | Самонарезающий винт | 2 | 09.1990 | 63171367315 | AE | ||
| 04 | FILLISTER HEAD SELF-TAPPING SCREW | 2 | 09.1990 | 07146977197 |