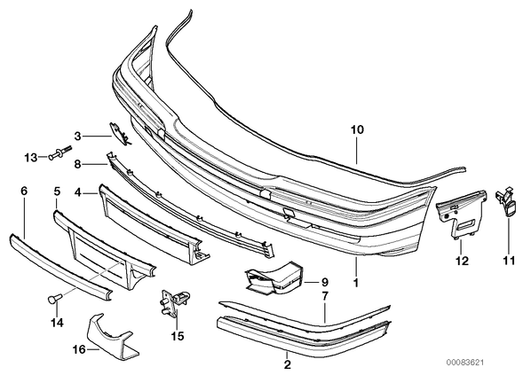
Облицовка Пд для БМВ E38, модель 740i M62
| № | Наименование | Дополнение | Кол-во | Вып. с | Вып. до | Номер | AE |
|---|---|---|---|---|---|---|---|
| 01 | Аэрод.пакет Performance Пд грунт. | 1 | 09.1996 | 51118125303 | |||
| 01 | Аэрод.пакет Performance Пд грунт. | 1 | 51118125303 | ||||
| 01 | Облицовка бампера Пд частичн.окрашенная | CODE - UNI/MET. | 1 | 03.1999 | 51119067665 | E | |
| При заказе указывать цветовой индекс | |||||||
| 02 | Защитная планка Л Пд | 1 | 51118125309 | ||||
| 02 | Защитная планка П Пд | 1 | 51118125310 | ||||
| Для автомобилей с | |||||||
| Сигнализация авар.сближения при парковке | |||||||
| 02 | Защитная планка Л Пд | 1 | 51118170555 | ||||
| Для автомобилей с | |||||||
| Сигнализация авар.сближения при парковке | |||||||
| 02 | Защитная планка П Пд | 1 | 51118170556 | ||||
| 03 | Крышка буксирной проушины загрунтов. | 1 | 51118169536 | ||||
| только в комбинации с | |||||||
| -- | Лента крепления | 1 | 51111973721 | ||||
| 03 | Крышка буксирной проушины окрашенная | CODE - UNI/MET. | 1 | 51119067673 | E | ||
| только в комбинации с | |||||||
| -- | Лента крепления | 1 | 51111973721 | ||||
| При заказе указывать цветовой индекс | |||||||
| 04 | Прокладка | 1 | 51118125311 | ||||
| Для автомобилей с | |||||||
| Экспортное исполнение для Японии | L807A = да | ||||||
| 05 | Прокладка | 1 | 51118150488 | ||||
| 07 | Накладка левая | CHROM | 1 | 51118125437 | |||
| 07 | Накладка правая | CHROM | 1 | 51118125438 | |||
| Для автомобилей с | |||||||
| Shadow-Line | |||||||
| 07 | Накладка загрунтованная Л | 1 | 51118211577 | ||||
| Для автомобилей с | |||||||
| Shadow-Line | |||||||
| 07 | Накладка загрунтованная П | 1 | 51118211578 | ||||
| Для автомобилей с | |||||||
| Shadow-Line | |||||||
| 07 | Накладка левая | CODE - UNI/MET. | 1 | 51119070050 | E | ||
| При заказе указывать цветовой индекс | |||||||
| 07 | Накладка правая | CODE - UNI/MET. | 1 | 51119070051 | E | ||
| При заказе указывать цветовой индекс | |||||||
| 07 | Накладка левая | CHROM | 1 | 51118168105 | |||
| Для автомобилей с | |||||||
| система омывателей фар | |||||||
| 07 | Накладка правая | CHROM | 1 | 51118168106 | |||
| Для автомобилей с | |||||||
| Shadow-Line | |||||||
| и | |||||||
| система омывателей фар | |||||||
| 07 | Накладка загрунтованная Л | 1 | 51118211579 | ||||
| Для автомобилей с | |||||||
| Shadow-Line | |||||||
| и | |||||||
| система омывателей фар | |||||||
| 07 | Накладка загрунтованная П | 1 | 51118211580 | ||||
| Для автомобилей с | |||||||
| Shadow-Line | |||||||
| и | |||||||
| система омывателей фар | |||||||
| 07 | Накладка левая | CODE - UNI/MET. | 1 | 51119070052 | E | ||
| При заказе указывать цветовой индекс | |||||||
| 07 | Накладка правая | CODE - UNI/MET. | 1 | 51119070053 | E | ||
| При заказе указывать цветовой индекс | |||||||
| 08 | Решетка | 1 | 51118125325 | ||||
| Для автомобилей с | |||||||
| Адаптивный круиз-контроль | S541A = да | ||||||
| 08 | Решетка Л | ACC | 1 | 51118237082 | |||
| Для автомобилей с | |||||||
| Адаптивный круиз-контроль | S541A = да | ||||||
| 08 | Решетка П | ACC | 1 | 51118237084 | |||
| 09 | Канал вентиляции тормозного диска Л Пд | 1 | 51118150763 | ||||
| 09 | Канал вентиляции тормозного диска П Пд | 1 | 51118150764 | ||||
| 10 | уплотнительная прокладка | 1 | 51118164813 | ||||
| 11 | Опора Л | 1 | 09.1994 | 09.1998 | 51118193157 | ||
| 11 | Опора П | 1 | 09.1994 | 09.1998 | 51118193158 | ||
| 12 | Вкладыш Л | 1 | 51118125307 | ||||
| 12 | Вкладыш П | 1 | 51118125308 | ||||
| 13 | заклепка с распорной втулкой | 6 | 51118174185 | ||||
| 14 | Шпонка | 2 | 51118118634 | ||||
| 15 | Кронштейн Л | 1 | 63178352815 | ||||
| 15 | Кронштейн П | 1 | 63178352816 |