Запчасти БМВ E38, 740i M62 руль L, КПП M, год 1994, месяц декабрь. Группа 54 «Люк с под.-сдв. крышкой и скл. верх»
|
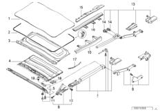
54_0202 Рама люка с подъемно-сдвижной крышкой |
54_0186 Детали люка с подъемно-сдвижной крышкой |
54_0185 Подъемно-сдвижная крышка люка/Рама люка |