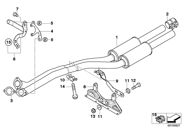
Передний дополнительный глушитель для БМВ E66, модель 730Li M54
| № | Наименование | Дополнение | Кол-во | Вып. с | Вып. до | Номер | AE |
|---|---|---|---|---|---|---|---|
| 01 | Приемная труба с передним глушителем | 1 | 18107522521 | ||||
| 02 | распорная втулка | D=50MM | 2 | 18307560777 | |||
| 03 | Плоск. уплотн.прокладка | 2 | 18107502346 | ||||
| 04 | Соединительный щиток | 1 | 18207521344 | ||||
| 05 | Гайка шестигранная | M10 | 5 | 18307530972 | |||
| 06 | Удерживающая скоба | 1 | 18207521343 | ||||
| 07 | Болт с шестигранной головкой | M8X20-ZNNIV SI | 2 | 07119903039 | |||
| 08 | крепежная пластина | 1 | 18207539912 | ||||
| 09 | Кронштейн подготовительной трубы | 1 | 18207522513 | ||||
| 10 | Хомут | 1 | 18207522514 | ||||
| 11 | Втулка шарнира | D=8MM | 4 | 18207546579 | |||
| 12 | Болт Asa | M8X35-U2-8.8 | 2 | 07129905417 | |||
| 13 | Гайка шестигранная | BM8-8-ZNNIV-SI | 2 | 07129904874 | |||
| 14 | Болт с шестигранной головкой | M8X50-U1-8.8 | 1 | 07119904504 |