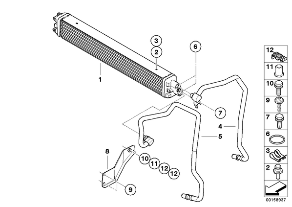
Радиатор охл.масла КПП/трубопр.масл.рад. для БМВ E65, модель ALPINA B7
| № | Наименование | Дополнение | Кол-во | Вып. с | Вып. до | Номер | AE |
|---|---|---|---|---|---|---|---|
| 01 | Масляный радиатор | 1 | 17217966251 | ||||
| 02 | Штуцер | 1 | 17117966252 | ||||
| 03 | Зажим | 1 | 17217562371 | ||||
| 04 | Подвод.трубопр.радиатора охл.масла КПП | 1 | 17227966265 | ||||
| 05 | Отвод.трубопр.радиатора охл.масла КПП | 1 | 17227966266 | ||||
| 06 | Кольцо круглого сечения | 13,4X1,78 | 2 | 17222245358 | |||
| 07 | Фиксирующий винт | M8X28-Z3 | 1 | 17227555715 | |||
| 08 | Держатель трубопровода масл.радиатора | 1 | 17227966262 | ||||
| 09 | Винт (саморез) | D6X20 ZNS3 | 2 | 17117536971 | |||
| 10 | Болт с шестигранной головкой с шайбой | M6X30-U2-ZNS3 | 1 | 07119903994 | |||
| 11 | Дистанционная втулка | D6 | 1 | 17227798686 | |||
| 12 | Кронштейн маслопровода | 2 | 17201712209 |