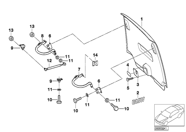
Детали верха, задняя дверь для БМВ E46, модель 325i
| № | Наименование | Дополнение | Кол-во | Вып. с | Вып. до | Номер | AE |
|---|---|---|---|---|---|---|---|
| 01 | багажная дверь | 1 | 86290008768 | E | |||
| 02 | Эмблема BMW | 1 | 51148123297 | ||||
| 02 | Надпись | 1 | 86199416544 | E | |||
| 03 | Крышка задней двери | 135X76MM | 1 | 86290008769 | E | ||
| 04 | Предупреждающая табличка | 1 | 86290008770 | E | |||
| 05 | Винт самонарезающий со сферич.головкой | ST3,5X8 | 4 | 07119900281 | |||
| 06 | Регулировочный уголок | 2 | 86290008771 | E | |||
| 07 | Петля Л | 1 | 86290008772 | E | |||
| 08 | Петля П | 1 | 86290008773 | E | |||
| 09 | Крепежный уголок | 2 | 86290008774 | E | |||
| 10 | Болт с шестигранной головкой | M8X20-ZNS | X | 07119901120 | AE | ||
| 10 | Болт с шестигранной головкой | M8X20-ZNNIV SI | X | 07119903039 | |||
| 11 | Прокладочная шайба | A8,4-ZNS | X | 07119931019 | |||
| 12 | Газонаполненный амортизатор | 400 N | 2 | 86290008775 | E | ||
| 13 | Гайка шестигранная | M8-04-2-ZNS | 4 | 03.2003 | 07119921104 | E | |
| 13 | Гайка шестигранная | M8-05-ZNNIV SI | 4 | 07119904948 | |||
| 14 | Скоба | 2 | 86190002059 | AE |