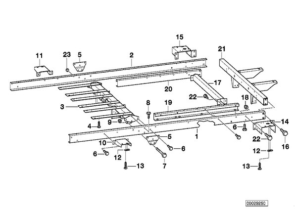
Запчасти из Германии / Запчасти БМВ / Запчасти E36 / 318is M44 / Группы запчастей / Группа 03 «Дооснащение / переоснащение / принадлеж.» / Детали рамы шасси прицепа Детали рамы шасси прицепа для БМВ E36, модель 318is M44 № Наименование Дополнение Кол-во Вып. с Вып. до Номер AE 01 Лонжерон Л 1 86199416867 E 02 Лонжерон П 1 86199416866 E 03 Поперечная балка Пд в сборе 1 86199416868 E 04 Винт самонарезающий со сферич.головкой ST4,8X16 SW 6 07.2005 07119907446 E 04 Универс.саморезы с полупотайной головкой ST4, 8X16MM 6 51419143799 05 Опора рычага Наруж 2 86199416869 E 06 Болт с шестигранной головкой M10X25 X 07119901164 07 Болт с шестигранной головкой M12X85-8.8 4 86199416947 E 08 Болт с шестигр.гол. самотормозящийся M8 X 25 4 86199416914 AE 09 Гайка шестигранная самоконтрящаяся M12-10 ZN 4 07.2005 07129964661 AE 09 Гайка шестигранная самоконтрящаяся M12-10-ZNS3 4 07119905753 10 Консоль Л Ср 1 86199416871 E 11 Консоль П Ср 1 86199416870 E 12 Фиксирующий кулачок Camlock 4 86199416872 E 13 Винт самонарезающий со сферич.головкой ST3,5X16 8 07119907783 14 Консоль Л Зд 1 86199416878 E 15 Консоль П Зд 1 86199416877 E 16 Болт с шестигр.гол. самотормозящийся M10X25 2 86199416946 E 17 Поперечная балка Зд 1 86199416876 E 18 Гайка шестигранная самоконтрящаяся M8-8-ZNS 2 07129964675 E 18 Гайка шестигранная самоконтрящаяся M8-8-ZNS3 2 07129904002 19 Лонжерон Л Зд 1 86199416874 E 20 Лонжерон П Зд 1 86199416873 E 21 Поперечная балка Зд 1 86199416875 E 22 Болт с шестигр.гол. самотормозящийся M8 X 16 4 86199416913 E 23 Втулка кабеля 1 86199416944 E