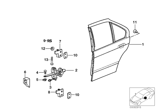
Задняя дверь - петля/ограничитель двери для БМВ E36, модель 325i
| № | Наименование | Дополнение | Кол-во | Вып. с | Вып. до | Номер | AE |
|---|---|---|---|---|---|---|---|
| 01 | Левая задняя дверь | 1 | 41528185429 | E | |||
| 01 | Правая задняя дверь | 1 | 41528185430 | E | |||
| 02 | Ограничитель двери Зд | 2 | 51228165009 | ||||
| 03 | Болт с шестигранной головкой с шайбой | M6X14 | 4 | 51218132858 | |||
| 04 | Штифт | 2 | 51218141116 | ||||
| 05 | Шайба стопорная | 2 | 51211948157 | ||||
| 06 | Уплотнит.прокладка ограничителя двери | 2 | 51218122579 | ||||
| 07 | Петля двери Л Зд Вх | 1 | 41528135509 | ||||
| 07 | Петля двери П Зд Вх | 1 | 41528135510 | ||||
| 08 | Петля двери Л Зд Нж | 1 | 41528135507 | ||||
| 08 | Петля двери П Зд Нж | 1 | 41528135508 | ||||
| 09 | Ремонтный комплект петли двери | X | 41511960998 | ||||
| состоит из | |||||||
| штифта | |||||||
| втулки | |||||||
| шайбы | |||||||
| фиксирующей шайбы | |||||||
| болта с шестигранной головкой с шайбой | |||||||
| 10 | Распорная шайба | 1,0MM | 1 | 41517202047 | |||
| 10 | Распорная шайба | 0,5MM | 1 | 41518173321 | |||
| 11 | Проставка | 2 | 61311387263 | ||||
| 12 | Гайка шестигранная | M8-8-ZNS3 | 8 | 03.1999 | 07119904032 | ||
| 12 | Гайка шестигранная | M8-8-ZNNIV SI | 8 | 07119905515 | |||
| 13 | Болт с шестигранной головкой | M6X22-8.8-MK | 4 | 07119906263 |