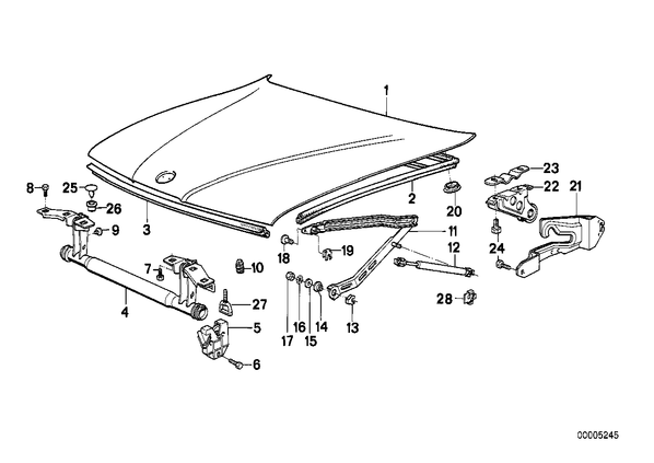
Запчасти из Германии / Запчасти БМВ / Запчасти E32 / 730i M30 / Группы запчастей / Группа 41 «Кузов» / капот капот для БМВ E32, модель 730i M30 № Наименование Дополнение Кол-во Вып. с Вып. до Номер AE 01 Капот для узких "ноздрей" 1 09.1988 41618101913 только в комбинации с -- Скоба замка 1 09.1988 51231974328 -- Шарнир капота 1 09.1988 41618101940 02 уплотнительная прокладка 1 51711948229 03 Уплотнитель капота Пд 1 02.1987 51711964574 04 Шарнир капота 1 09.1988 41611928732 05 Запорный механизм капота 1 51231908330 06 Болт с шестигранной головкой с шайбой M6X18-Z3-2 1 07119915027 07 Болт с шестигранной головкой с шайбой M6X16-Z3-2 6 07119915021 08 Болт с шестигранной головкой с шайбой M6X16-Z2 2 04.1994 07119915042 AE 08 Болт с шестигранной головкой с шайбой M6X16-U2-ZNS3 2 07119902913 09 Упор 2 51231916567 10 Упорный буфер 2 51231852347 11 Стойка 2 41611928563 12 Газонаполненный амортизатор 420N 2 51231908465 13 Проставка 1 51231906523 14 Опора 2 51231928459 15 Прокладочная шайба D=8,4 2 41611833134 AE 16 Упругая шайба B8 2 04.1994 07119932095 AE 16 Упругая шайба 2 07119904115 17 Гайка шестигранная M8-ZNS 2 07119922856 E 17 Гайка шестигранная M8-8-ZNS3 2 08.1994 07119904032 17 Гайка шестигранная M8-8-ZNNIV SI 2 07119905515 18 Штифт 2 41611906284 19 Стопорное кольцо 2 51211854873 20 Заглушка D=22MM 4 51711855009 20 Заглушка D=23MM 4 51711904843 21 Скоба замка Л 1 51231928117 21 Скоба замка П 1 51231928118 22 Направляющий ролик 2 51231884272 23 Упор 2 51231884280 24 Болт с шестигранной головкой с шайбой M6X16-Z3 8 51231933461 25 Пробка X 51711938315 26 наконечник X 51711938316 28 Шайба стопорная 4 51231908430