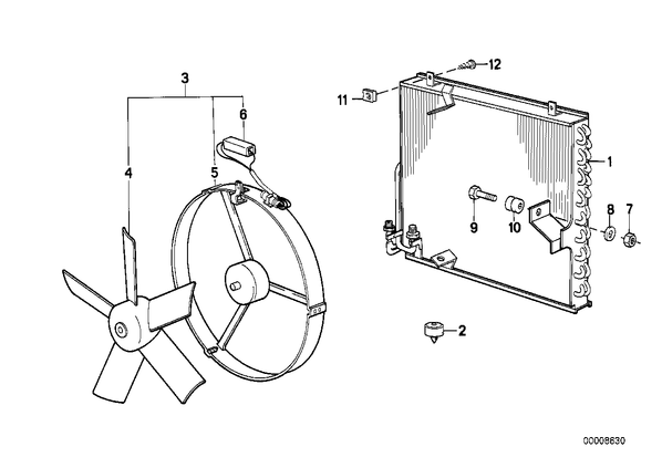
Конденсатор кондиц./дополнит.вентилятор для БМВ E32, модель 730i M30
| № | Наименование | Дополнение | Кол-во | Вып. с | Вып. до | Номер | AE |
|---|---|---|---|---|---|---|---|
| 01 | Конденсатор | R12/R134A | 1 | 12.2004 | 64538391316 | E | |
| 01 | Конденсатор | R12/R134A | 1 | 64536965952 | |||
| 02 | Резинометаллический шарнир | 2 | 64531378239 | ||||
| 03 | дополнительный вентилятор | 1 | 64541392913 | ||||
| 06 | Резистор | MAGNA/SIEMENS | 1 | 05.1994 | 64541386265 | E | |
| 06 | Резистор | BOSCH | 1 | 17401373177 | |||
| 06 | Ремонтный комплект резистора | MAGNA | 1 | 64121388069 | |||
| 07 | Гайка шестигранная самоконтрящаяся | M5 | 3 | 02.1996 | 63142322408 | E | |
| 07 | Гайка шестигранная | M5 ZNS 3 | 3 | 07119964653 | E | ||
| 07 | Hex Nut | M5 | 3 | 07119905710 | |||
| 08 | Прокладочная шайба | 3 | 17401354523 | ||||
| 09 | Призонный болт | M5 | 3 | 17401354522 | |||
| 10 | Резиновая втулка | 3 | 17401362128 | ||||
| 11 | Листовая гайка | B6,3-6 | 2 | 16111152613 | |||
| 12 | Саморез с шестигранной головкой | ST6,3X13-F-Z2 | 2 | 07119916964 |