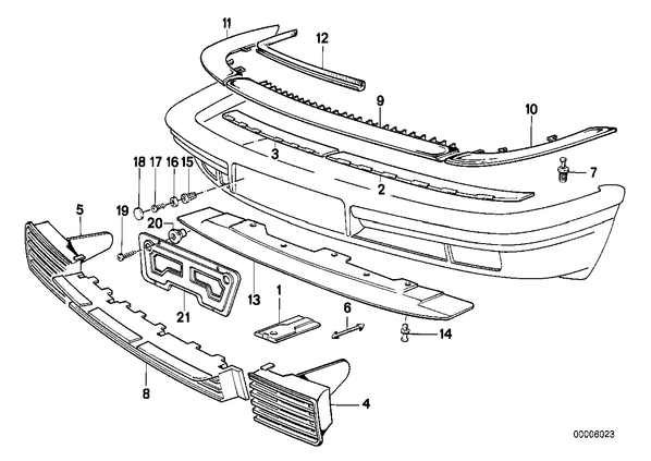
Запчасти из Германии / Запчасти БМВ / Запчасти E32 / 735i / Группы запчастей / Группа 51 «Оснащение кузова» / Дополнительные элементы бампера Пд Дополнительные элементы бампера Пд для БМВ E32, модель 735i № Наименование Дополнение Кол-во Вып. с Вып. до Номер AE 01 Кронштейн 4 51111928930 02 Проставка Л 1 51118141561 02 Проставка Л 1 51111969677 E 03 Проставка П 1 51118141562 03 Проставка П 1 51111969678 04 Крышка Л Пд 1 09.1987 51111928277 05 Крышка П Пд 1 09.1987 51111928278 E 06 Лента крепления 4 51111973721 07 заклепка с распорной втулкой D = 6MM X 51111908077 08 Решетка 1 51111928276 Для автомобилей с кондиционер 08 Решетка 1 51111908072 09 Накладка Ср 1 51111908066 Для автомобилей с Shadow-Line 09 Накладка Ср 1 51118111573 Для автомобилей с система омывателей фар 09 Накладка Ср 1 51111928134 Для автомобилей с система омывателей фар и Shadow-Line 09 Накладка Ср 1 51118111574 10 Накладка левая 1 51111908067 Для автомобилей с Shadow-Line 10 Накладка левая 1 51118111571 11 Накладка правая 1 51111908068 E Для автомобилей с Shadow-Line 11 Накладка правая 1 51118111572 12 уплотнительная прокладка 670MM 2 51111958067 E Для автомобилей с кондиционер 13 Уплотнитель Нж 1 51711938181 Для автомобилей с кондиционер 14 заклепка с распорной втулкой D=7,5MM 7 51481915964 15 Вставная гайка 2 51181852299 16 Прокладочная шайба 4,3 2 04.1994 07119936412 AE 16 шайба 2 07119904207 17 Винт самонарезающий со сферич.головкой ST4,8X16 2 51181821830 AE 17 Винт самонарезающий со сферич.головкой ST4,8X16MM 2 07143448498 18 Защитный колпак WEISS 2 51181813017 18 Защитный колпак SCHWARZ 2 51181823474 18 Защитный колпак DUNKELBLAU 2 64111375497 19 Винт самонарезающий со сферич.головкой ST4,8X13-Z2 4 07119907957 20 Листовая гайка 4 51111945028 21 Крепление номерного знака 1 51181908062