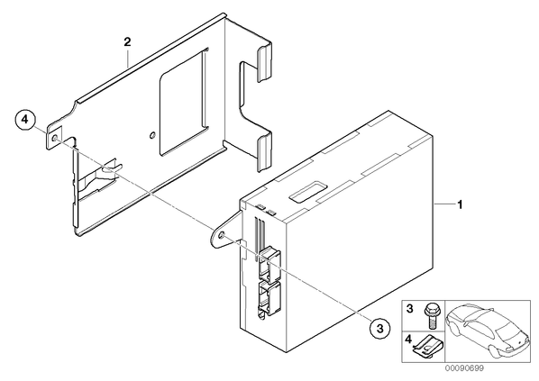
Видеомодуль / кронштейн для БМВ E46, модель 316ti N42
| № | Наименование | Дополнение | Кол-во | Вып. с | Вып. до | Номер | AE |
|---|---|---|---|---|---|---|---|
| 01 | Оборотный видеомодуль high незакодир. | 1 | 05.2003 | 65506923418 | E | ||
| 01 | Оборотный видеомодуль high незакодир. | 1 | 02.2004 | 65506936759 | E | ||
| 01 | Оборотный видеомодуль high незакодир. | 1 | 09.2004 | 65506946423 | E | ||
| Для автомобилей с | |||||||
| Бортовой монитор с ТВ | S602A = да | ||||||
| и | |||||||
| Подготовка под моб.телефон с Bluetooth | S644A = да | ||||||
| 01 | Видеомодуль high незакодированный | 1 | 09.2004 | 65504124836 | E | ||
| 02 | Кронштейн видеомодуля | 1 | 65508378548 | ||||
| 03 | Болт с шестигранной головкой с шайбой | M5X14 | 4 | 07119902007 | AE | ||
| 03 | Болт с шестигранной головкой | M5X14-8.8-ZNNIV | 4 | 07119904269 | |||
| 04 | Листовая гайка | M5 | 4 | 61131372033 |