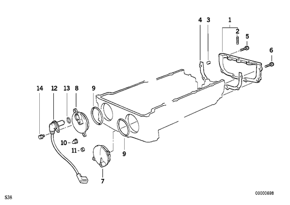
Промежут.часть картера дополнит.элементы для БМВ E34, модель M5 3.8
| № | Наименование | Дополнение | Кол-во | Вып. с | Вып. до | Номер | AE |
|---|---|---|---|---|---|---|---|
| 01 | Крышка | 1 | 11121306734 | ||||
| 02 | Установочный штифт | M6X30-ZN | 3 | 07.1995 | 07129908102 | AE | |
| 02 | Установочный штифт | M6X30-ZNNIV SI | 3 | 07129904544 | |||
| 03 | Центрирующая втулка | 2 | 11121250717 | E | |||
| 03 | Центрирующая втулка | D=8,5X9MM | 2 | 11121726242 | |||
| 04 | Уплотнительная прокладка безасбестовая | SI255 11/90 | 1 | 11121306729 | |||
| 05 | Болт с шестигранной головкой с шайбой | M6X25-Z3 | 2 | 07119915046 | |||
| 06 | Болт с шестигранной головкой с шайбой | M6X20-Z3 | 4 | 07119915031 | |||
| 07 | Крышка | 1 | 11121312323 | ||||
| 08 | Крышка | 1 | 11121317459 | ||||
| 09 | Кольцо круглого сечения | 60X3 | 2 | 12111252257 | |||
| 10 | Колпачковая гайка | M6-Z1 | 2 | 11121720113 | AE | ||
| 10 | Колпачковая гайка | M6 | 2 | 11617549043 | |||
| 11 | Гайка шестигранная | M6-8-ZNS | 2 | 07119922832 | AE | ||
| 11 | Гайка шестигранная | M6-8-ZNNIV SI | 2 | 07119905543 | |||
| 12 | Сигнализатор | 1 | 12141317957 | ||||
| 13 | Кольцо круглого сечения | 18X2 | 1 | 12141727220 | |||
| 14 | Болт с цилиндрической головкой с шайбой | M6X16-Z1-8.8-ZN | 1 | 07.1995 | 07119920067 | E | |
| 14 | Болт с цилиндрической головкой с шайбой | M6X16-Z1-8.8 | 1 | 07119902316 |