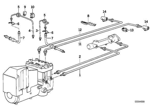
Трубопровод тормозного привода c ABS Пд для БМВ E34, модель 530i
| № | Наименование | Дополнение | Кол-во | Вып. с | Вып. до | Номер | AE |
|---|---|---|---|---|---|---|---|
| 01 | Трубопровод | M10/M12-861MM | 1 | 09.1993 | 34326755502 | ||
| 02 | Трубопровод | M10/M12-820MM | 1 | 09.1993 | 34326755501 | ||
| 03 | Трубопровод | M10/M10-829MM | 1 | 09.1993 | 34326755594 | ||
| 04 | Трубопровод | M10/M10-2436MM | 1 | 09.1993 | 34326755666 | ||
| 05 | Резиновая втулка | D=40MM | 2 | 09.1993 | 34321154322 | ||
| 06 | Фиксирующая пружина | 2 | 09.1993 | 34341163565 | |||
| 07 | Тормозной шланг | 2 | 09.1993 | 34321159891 | |||
| 08 | Распорка 4-частная | 1 | 09.1993 | 34326777692 | |||
| 09 | Держатель трубопровода тормоз.привода | 1 | 09.1993 | 34301161567 | AE | ||
| 09 | Держатель трубопровода тормоз.привода | 1 | 09.1993 | 34326855500 | |||
| 10 | Держатель трубопровода тормоз.привода | 3 | 09.1993 | 34321160027 | |||
| 11 | Трубопровод | M10/M10 | 1 | 09.1993 | 34326772472 | ||
| 12 | Трубопровод | M10/M10-523MM | 1 | 09.1993 | 34326766270 | E | |
| 12 | Трубопровод | M10/M10-523MM | 1 | 09.1993 | 34306779191 | ||
| 14 | Угловая муфта | M10X1 | 2 | 09.1993 | 34321161239 |