Автостарт - автозапчасти и техцентр
Whatsapp +7 925 081-6982 +7 495 955-9000 Магазин в Москве
Забыли пароль? | Регистрация
BMW Mercedes-Benz Volkswagen Audi руб.
Оформить заказ

  • Запчасти БМВ

  • Запчасти из Германии

  • Автосервис BMW

  • Автосервис VAG

  • Бренды

  • Контакты
Поиск товара по номеру
Каталог BMW - Подбор по VIN
Автозапчасти в оригинальных каталогах
Каталог Mercedes-Benz Каталог Volkswagen Каталог Audi Каталог Seat Каталог Škoda
  • Запчасти из Германии / 
  • Запчасти БМВ / 
  • Запчасти E36 / 
  • 318is M42 / 
  • Группы запчастей / 
  • Группа 18 «Система выпуска ОГ»

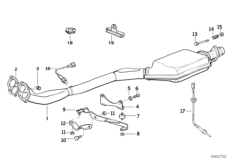
Запчасти БМВ E36, 318is M42 руль L, КПП M, год 1991, месяц ноябрь. Группа 18 «Система выпуска ОГ»

18_0213
Катализатор/лямбда-зонд
18_0212
Задний дополнительный глушитель
© 2009 - 2019 «Автостарт» - качественные автозапчасти в наличии и под заказ.
  • Запчасти БМВ
  •  | Запчасти из Германии
  •  | Бренды
  •  | Контакты
Дизайн сайта © 2009-2020 Bitdesign
Яндекс.Метрика