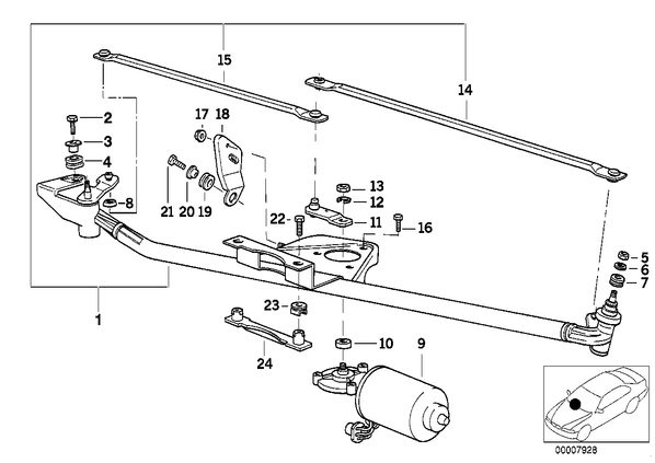
Запчасти из Германии / Запчасти БМВ / Запчасти E36 / 318is M42 / Группы запчастей / Группа 61 «Общее э/оборудование автомобиля» / Детали стеклоочистителя Детали стеклоочистителя для БМВ E36, модель 318is M42 № Наименование Дополнение Кол-во Вып. с Вып. до Номер AE 01 Рычажный механизм стеклоочистителя 1 61618215988 только в комбинации с -- Гайка шестигранная M8-8-ZNNIV SI 1 07119905515 содержит приводные тяги 02 Болт с шестигранной головкой M6X25-SB 1 01.1994 07119913569 E только в комбинации с -- Прокладочная шайба A6,4-200HV-ZNS3 1 01.1994 07119903791 02 Болт с шестигранной головкой M6X25 1 07119913483 только в комбинации с -- Прокладочная шайба A6,4-200HV-ZNS3 1 07119903791 03 втулка шарнира 1 61618353139 E 04 Демпфирующее кольцо 1 61618353140 05 Гайка шестигранная M22X1 1 61611374447 08 уплотнительная прокладка 1 61618357738 E 09 Электродвигатель стеклоочистителя 1 09.1994 67638357866 только в комбинации с -- Болт с шестигранной головкой с шайбой M6X18-Z3-2 3 09.1994 07119915027 10 Защитный колпак 1 61618353217 11 Кривошип электродвигателя 1 61618353844 12 Упругая шайба B8 1 09.1999 07119932095 AE 12 Упругая шайба 1 07119904115 13 Гайка шестигранная M8-8-ZNS3 1 09.1999 07119904032 13 Гайка шестигранная M8-8-ZNNIV SI 1 07119905515 14 Приводная тяга 1 61618353125 15 Приводная тяга 1 61618353126 16 Болт с шестигранной головкой с шайбой M6X18-Z3-2 3 07119915027 17 Гайка шестигранная M6 ZNS3 1 09.1999 07129904868 E 17 Гайка шестигранная с шайбой AM6-8-ZNNIV SI 1 07129905542 18 Крепление 1 61618353210 E 19 Демпфирующее кольцо 1 61611372676 20 втулка 1 61611374870 21 Болт с шестигранной головкой с шайбой M6X20-Z2 1 07119913580 AE 21 Болт с шестигранной головкой M6X20-U2-8.8 1 07119903995 23 Демпфирующее кольцо 2 61618357833 24 Шина для крепления 1 61618357832