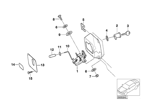
Детали верха, двери/запорн.механиз. для БМВ E36, модель 325i
| № | Наименование | Дополнение | Кол-во | Вып. с | Вып. до | Номер | AE |
|---|---|---|---|---|---|---|---|
| 01 | ·РЬЮЪ СРУРЦЭЮЩ ФТХаШ б ЬШЪаЮТлЪЫозРвХЫХЬ | 3 | 51248169532 | ||||
| 02 | Заглушка с кодом слева | 3 | 51211901537 | ||||
| 03 | Ключ стандартный (с кодом) | SERVICE | 2 | 32321109800 | |||
| 03 | Ключ стандартный (заготовка) | SERVICE | 2 | 32321109801 | |||
| 04 | Прокладка | 3 | 51211889499 | ||||
| 05 | Скоба | 3 | 51211838035 | ||||
| 06 | шайба | 18X5,5X1,5MM | 4 | 86290008790 | AE | ||
| 07 | Гайка шестигранная самоконтрящаяся | M5 | 2 | 08.2000 | 07129964603 | AE | |
| 07 | Гайка шестигранная | M5-8-ZNNIV SI | 2 | 07129904475 | |||
| 08 | Болт с шестигранной головкой | M5X16 | 2 | 08.2000 | 07119913113 | E | |
| 08 | Болт с шестигранной головкой | M5X16-U1-8.8 | 2 | 07119905215 | |||
| 09 | Прокладочная шайба | A10,5 | 2 | 07119931096 | |||
| 10 | Соединительная тяга | 1 | 86290008848 | E | |||
| 11 | Упругая шайба | 2 | 86290008849 | E | |||
| 12 | Колпачок | 1 | 86290008847 | AE | |||
| 13 | Крышка задней двери | 135X76MM | 1 | 86290008769 | E | ||
| 13 | Крышка боковой двери | 130X64,5MM | 2 | 86290008846 | E | ||
| 14 | Предупреждающая табличка | 1 | 86290008770 | E | |||
| 15 | Винт самонарезающий со сферич.головкой | ST3,5X8 | X | 07119900281 |