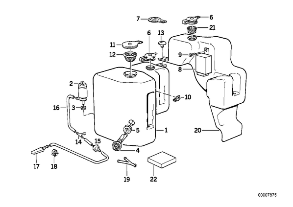
Детали системы омывателей фар для БМВ E30, модель 325ix
| № | Наименование | Дополнение | Кол-во | Вып. с | Вып. до | Номер | AE |
|---|---|---|---|---|---|---|---|
| 01 | Бачок для охлаждающей жидкости | 1 | 61661375570 | ||||
| 02 | Насос стеклоомывателя | 1 | 09.1986 | 61661380066 | E | ||
| 02 | Насос стеклоомыв./бачок жидкости | 1 | 09.1986 | 61661377830 | |||
| 03 | уплотнительная прокладка | 3 | 61661365657 | ||||
| 04 | Выключатель индикатора уровня | 1 | 61311369263 | ||||
| 05 | Резиновый раструб | 1 | 61311369343 | ||||
| 06 | Крышка | 1 | 61661369516 | ||||
| 06 | Крышка бачка интенсивного очистителя | 1 | 61661373175 | E | |||
| 07 | Шильдик "Intensivreinigung" | 1 | 51141885911 | ||||
| 08 | Блок управл.интенс.стеклоочист./-омыват. | 1 | 61311367391 | ||||
| 09 | Винт со сферо-цилиндрической головкой | M5X8-Z3 | 1 | 07119906822 | |||
| 13 | Кнопка | 1 | 61661368599 | ||||
| 14 | Адаптер | 3 | 61661355939 | ||||
| 15 | Клапан | 2 | 61661380464 | ||||
| 16 | Шлангопровод | D= 4,6MM | X | 61661357388 | |||
| 17 | Форсунка | 2 | 61671369124 | E | |||
| 18 | Держатель провода | D=16,8MM | 4 | 12521276147 | |||
| Для автомобилей с | |||||||
| Система интенсивной очистки стекол | |||||||
| 20 | Бачок для охлаждающей жидкости | 1 | 61671381709 | E | |||
| Для автомобилей с | |||||||
| Система интенсивной очистки стекол | |||||||
| 21 | Сетка фильтра | 1 | 61661371257 | E |