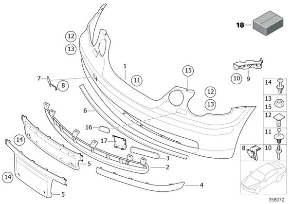
Запчасти из Германии / Запчасти БМВ / Запчасти E46 / 318ti N46 / Группы запчастей / Группа 51 «Оснащение кузова» / Облицовка Пд Облицовка Пд для БМВ E46, модель 318ti N46 Комплектация Код Да Нет ? Экспортное исполнение для Японии L807A автоматическая коробка передач S205A система омывателей фар S502A Titan Line Exterieur S347A № Наименование Дополнение Кол-во Вып. с Вып. до Номер AE 01 Аэрод.пакет Performance Пд грунт. 1 51117030890 только в комбинации с -- К-т доп.элементов переднего бампера VALUE LINE 1 51112293996 01 Облицовка бампера Пд окрашенная CODE - UNI/MET. 1 51110028791 E только в комбинации с -- К-т доп.элементов переднего бампера VALUE LINE 1 51112293996 При заказе указывать цветовой индекс 01 Аэрод.пакет Performance Пд грунт. 1 51117046910 только в комбинации с -- К-т доп.элементов переднего бампера VALUE LINE 1 51112293996 Для автомобилей с система омывателей фар S502A = да 01 Облицовка бампера Пд окрашенная CODE - UNI/MET. 1 51110028792 E только в комбинации с -- К-т доп.элементов переднего бампера VALUE LINE 1 51112293996 При заказе указывать цветовой индекс 02 Решетка бампера Пд SCHWARZ 1 51118252788 03 Щиток противотуманной фары Л SCHWARZ 1 51118252799 03 Щиток противотуманной фары П SCHWARZ 1 51118252800 04 Защитная планка бампера Л Пд SCHWARZ 1 51118252791 04 Защитная планка бампера П Пд SCHWARZ 1 51118252792 Для автомобилей с Titan Line Exterieur S347A = да 04 Защитная планка бампера Л Пд DARK SILVER 1 51117010205 Для автомобилей с Titan Line Exterieur S347A = да 04 Защитная планка бампера П Пд DARK SILVER 1 51117010206 05 Основание номерного знака SCHWARZ 1 51118252793 Для автомобилей с Экспортное исполнение для Японии L807A = да 05 Основание номерного знака SCHWARZ 1 51117000373 Для автомобилей с Titan Line Exterieur S347A = да 05 Основание номерного знака DARK SILVER 1 51117010183 E 06 Накладной стержень SCHWARZ 1 51117000374 Для автомобилей с Titan Line Exterieur S347A = да 06 Накладной стержень DARK SILVER 1 51117010209 07 Крышка буксирной проушины загрунтов. 1 51117030892 07 Крышка буксирной проушины окрашенная CODE - UNI/MET. 1 51110028790 E При заказе указывать цветовой индекс 08 Скоба 1 51127164686 09 Боковое крепление бампера Л Пд 1 51118252797 09 Боковое крепление бампера П Пд 1 51118252798 10 Заклепка 4 51111942789 11 заклепка с распорной втулкой 16 51118174185 12 Винт планки M6 2 54218251229 13 Гайка шестигранная M6-8-ZNNIV SI 2 07119905543 14 Винт со сферо-цилиндрической головкой TS5X20 2 07146986938 15 Гайка шестигранная самоконтрящаяся M6 2 64509123157 Для автомобилей с система омывателей фар S502A = да 16 Накладка форсунки загрунтованная Л 1 61677066845 Для автомобилей с система омывателей фар S502A = да 16 Накладка форсунки загрунтованная П 1 61677066846 Для автомобилей с автоматическая коробка передач S205A = нет 17 Кожух канала вентил.тормозного диска Л 1 51118252789 Для автомобилей с автоматическая коробка передач S205A = нет 17 Кожух канала вентил.тормозного диска П 1 51118252790 18 К-т доп.элементов переднего бампера VALUE LINE 1 51112293996