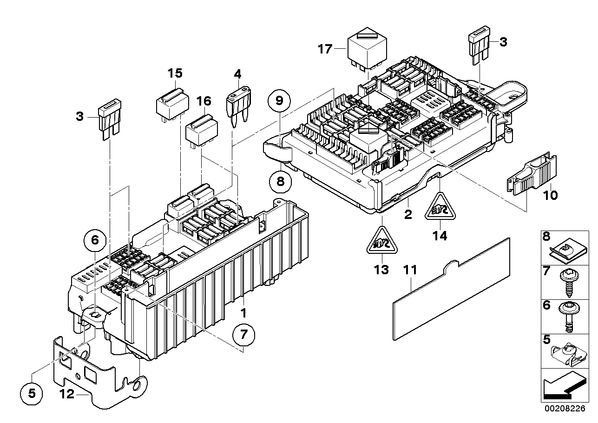
Запчасти из Германии / Запчасти БМВ / Запчасти E71 / X6 35iX N54 / Группы запчастей / Группа 61 «Общее э/оборудование автомобиля» / ZB Stormverteiler M.Hauptkabelbaum ZB Stormverteiler M.Hauptkabelbaum для БМВ E71, модель X6 35iX N54 № Наименование Дополнение Кол-во Вып. с Вып. до Номер AE 01 Распределитель тока Пд 1 61149145115 02 Распределитель тока Зд 1 61146931687 03 Предохранитель Mini желто-коричневый 5A X 61136917401 03 Предохранитель Mini коричневый 7,5A X 61136917402 03 Предохранитель Mini красный 10A X 61136917403 03 Предохранитель Mini синий 15A X 61136917404 03 Предохранитель Mini желтый 20A X 61136942071 04 Предохранитель 30A X 07.2017 61131372628 04 Предохранитель 30A X 61146953472 E 04 Предохранитель 30A X 61131372529 06 Резьбовая пробка L=20MM X 51717134392 07 Винт со сферо-цилиндрической головкой ISA 4X12 X 07147135132 08 Листовая гайка ST 4,8-7-ZNS3 3 07129904226 09 Самонарезающий винт 3 07119904277 10 Зажим плавкой вставки 1 61146936578 11 Схема распределения предохран. Зд 1 10.2007 71239160591 12 Крепежный уголок 1 61146972300 13 Универс.корпус штепсельной розетки DFK40 6 POL. 1 61146938604 только в комбинации с -- Сдвоенный пружинящий контакт 1,5-2,5 MM²(AG) X 61138377732 -- Сдвоенный пружинящий контакт 4,0-6,0 MM²(AG) X 61138377734 14 Универсальный корпус розетки незакодир. 6 POL. 1 61139151397 15 Реле перемены контактов черн. 1 61316919113 16 Реле с переключающим контактом, зеленое 1 61366980177 17 Реле с замыкающим контактом Schwarz 1 61366901469