Дисплей на лобовом стекле для БМВ E70, модель X5 3.0sd
| № | Наименование | Дополнение | Кол-во | Вып. с | Вып. до | Номер | AE |
|---|---|---|---|---|---|---|---|
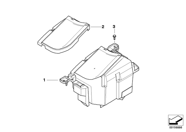
| 01 | Дисплей на лобовом стекле | LHD | 1 | 62309262179 | |||
| Для автомобилей с | |||||||
| Надпись для панели приборов, япон. | S852A = да | ||||||
| или | |||||||
| Языковая версия китайский упрощенный | S866A = да | ||||||
| или | |||||||
| языковая версия корейский | S867A = да | ||||||
| 01 | Дисплей на лобовом стекле | LHD | 1 | 62309262181 | |||
| 02 | Звукоизоляция виртуального дисплея | LHD | 1 | 62309128267 | |||
| 03 | Болт с шестигр.гол. самоконтрящийся | M6 | 3 | 07146961201 |