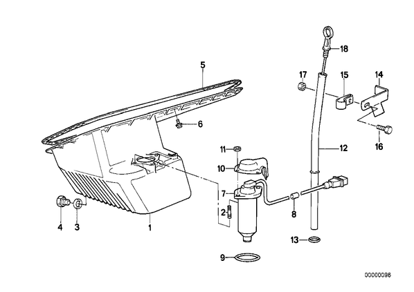
Запчасти из Германии / Запчасти БМВ / Запчасти E30 / 325i / Группы запчастей / Группа 11 «Двигатель» / Масляный картер/маслоизмерит.приспособл. Масляный картер/маслоизмерит.приспособл. для БМВ E30, модель 325i № Наименование Дополнение Кол-во Вып. с Вып. до Номер AE 01 Масляный картер 1 11131720754 02 Установочный штифт M6X25-ZN 3 07129908100 03 Уплотнительное кольцо A12X17-CU 1 07119963151 04 Резьбовая пробка M12X1,5 1 05.1993 11131273093 AE 04 Резьбовая пробка M12X16 1 11137535106 05 Уплотнительная прокладка безасбестовая 1 11131730234 06 Болт с шестигранной головкой с шайбой M6X20-Z3 X 07119915031 07 Крышка 1 11132240942 07 Выключатель индикатора уровня 1 12611722301 08 Резиновая втулка 1 12611276240 09 Кольцо круглого сечения 3X42,3 1 12611277602 11 Гайка шестигранная с шайбой AM6-ZNS 2 07129900681 AE 11 Гайка шестигранная с шайбой AM6-8-ZNNIV SI 2 07129904553 12 Направляющая труба L=387,4MM 1 11111705786 13 Кольцо круглого сечения 14,5X3 1 11431287541 14 Кронштейн 1 11431720566 15 Хомут 1 11431258342 16 Болт с шестигранной головкой M6X16-8.8 ZN 1 07119913466 AE 16 Болт с шестигранной головкой M6X16-8.8-ZNS3 1 07119904357 17 Гайка шестигранная с шайбой AM6-ZNS 1 07129900681 AE 17 Гайка шестигранная с шайбой AM6-8-ZNNIV SI 1 07129904553 18 Маслоизмерительный щуп L=533,5MM 1 11431718863