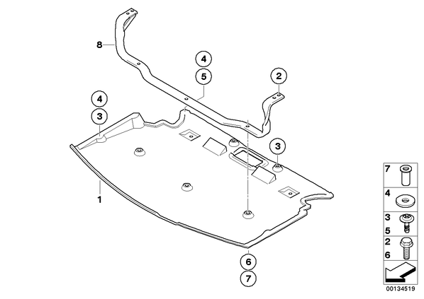
Защита картера Пд для БМВ E60, модель 520i
| № | Наименование | Дополнение | Кол-во | Вып. с | Вып. до | Номер | AE |
|---|---|---|---|---|---|---|---|
| Для автомобилей с | |||||||
| Комплект для плохих дорог | S815A = да | ||||||
| 01 | Защитный брус | 1 | 07.2007 | 51757204401 | |||
| 02 | Болт фиксирующий | M10X25 | 4 | 51717140982 | |||
| 03 | Винт быстроразъемного соединения | 18,4MM | X | 51717123801 | |||
| 04 | Шайба фиксирующая | D=12MM | X | 51718212163 | |||
| 05 | Винт быстроразъемного соединения | 15,4MM | X | 51717110995 | |||
| 06 | Болт фиксирующий | M8X25 | 3 | 07147153806 | |||
| 07 | Шайба глухой заклепки с плоской головкой | M8 | X | 41327000571 | |||
| Для автомобилей с | |||||||
| Комплект для плохих дорог | S815A = да | ||||||
| 08 | Скоба панели защиты вспом.механ.двигат. | 1 | 51717061942 |