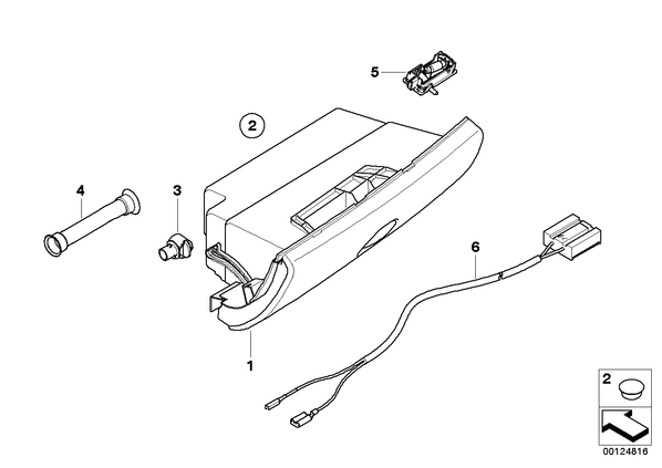
Дооснащение перчаточным ящиком для БМВ R50, модель One D
| № | Наименование | Дополнение | Кол-во | Вып. с | Вып. до | Номер | AE |
|---|---|---|---|---|---|---|---|
| 01 | Перчаточный ящик запираемый | PANTHER BLACK | 1 | 08.2001 | 51166959970 | ||
| только в комбинации с | |||||||
| -- | Цилиндр замка с кодом | 1 | 08.2001 | 51167133603 | |||
| -- | Болт Torx для пластмассовых деталей | 5X20-ZNFE SW | 5 | 08.2001 | 07147133620 | ||
| -- | Пластмассовая гайка | M5 | 2 | 08.2001 | 07131472727 | ||
| Для автомобилей с | |||||||
| кондиционер | S530A = нет | ||||||
| и | |||||||
| Автоматическая система кондиционирования | S534A = нет | ||||||
| 02 | Крышка вещевого ящика | 1 | 08.2001 | 51167075844 | |||
| Для автомобилей с | |||||||
| кондиционер | S530A = да | ||||||
| или | |||||||
| Автоматическая система кондиционирования | S534A = да | ||||||
| 03 | Регулятор потока холодного воздуха | 1 | 08.2001 | 51457061468 | |||
| Для автомобилей с | |||||||
| кондиционер | S530A = да | ||||||
| или | |||||||
| Автоматическая система кондиционирования | S534A = да | ||||||
| 04 | Канал холодного воздуха | 1 | 08.2001 | 51167073407 | |||
| 05 | Лампа освещения вещевого ящика | 1 | 08.2001 | 63316962045 | |||
| 06 | К-т доосн.пров.фонаря осв.перч.ящика | 1 | 08.2001 | 61120154885 | E |