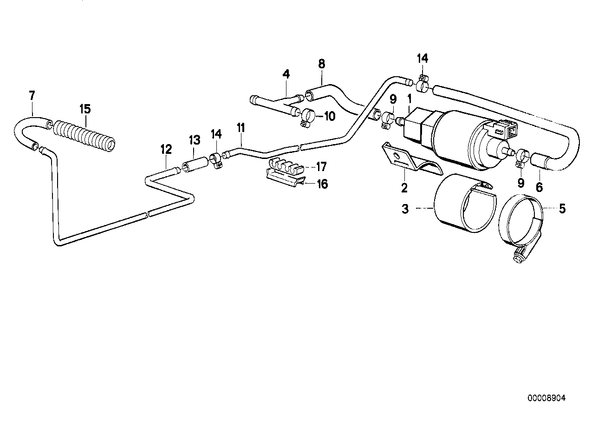
Дополнительный топливный насос для БМВ E32, модель 750iLS
| № | Наименование | Дополнение | Кол-во | Вып. с | Вып. до | Номер | AE |
|---|---|---|---|---|---|---|---|
| 01 | Топливный насос | 1 | 64121388245 | E | |||
| 01 | Топливный насос | 1 | 64129143157 | ||||
| 02 | Кронштейн топливного насоса | 1 | 64121388246 | E | |||
| 03 | Прокладка | 1 | 64121378218 | ||||
| 04 | T-образный элемент | 1 | 64121378217 | E | |||
| 05 | хомут | 1 | 64121382617 | ||||
| 06 | Шланг | 320MM | 1 | 64121388211 | |||
| 07 | Шланг | 320MM | 1 | 64121388211 | |||
| 08 | Шланг | 1 | 64121378286 | ||||
| 09 | хомут | 66/100 | 1 | 64121378285 | |||
| 10 | Шланговый зажим | 13,1-15,3 | 2 | 16121176918 | |||
| 11 | Топливопровод автономной сист.отопления | 1208MM | 1 | 64121382973 | E | ||
| 12 | Топливопровод | 1 | 64121388576 | ||||
| 13 | Шланг | 1000MM | 1 | 04.1994 | 64121388228 | E | |
| 13 | Топливный шланг | 126MM | 1 | 64128379561 | |||
| 14 | хомут | 4 | 16131388117 | ||||
| 15 | Защитный шланг | 360MM | 1 | 64121388391 | E | ||
| 16 | Кронштейн | X | 34321379024 | ||||
| 17 | Хомут | X | 64121390599 | E |