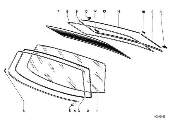
Остекление, дополнительные элементы для БМВ E12, модель 530i
| № | Наименование | Дополнение | Кол-во | Вып. с | Вып. до | Номер | AE |
|---|---|---|---|---|---|---|---|
| 02 | Уплотнитель лобового стекла | 1 | 51311820486 | E | |||
| 02 | Уплотнитель лобового стекла | 1 | 51311822185 | ||||
| 03 | Декоративная планка Вх | 1 | 51311820622 | ||||
| 04 | Декоративная планка Нж | 1 | 51311817451 | ||||
| 05 | Угловая накладка Л | 1 | 51311820661 | E | |||
| 06 | Угловая накладка П | 1 | 51311820662 | E | |||
| 07 | Заднее стекло бесцветное | 1 | 51311354794 | ||||
| 08 | Уплотнитель заднего стекла | 1 | 51311820485 | ||||
| 09 | Декоративная планка | 2 | 51311820624 | ||||
| 10 | Угловая накладка | 2 | 51311820269 | ||||
| 11 | Угловая накладка Л | 1 | 51311820659 | E | |||
| 12 | Угловая накладка П | 1 | 51311820660 | ||||
| 13 | Декоративная планка Нж | 1 | 51311817452 | ||||
| 14 | Декоративная планка Вх | 1 | 51311820623 |