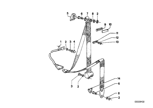
Дополн.элементы ремня безопасности Пд для БМВ E12, модель 530i
| № | Наименование | Дополнение | Кол-во | Вып. с | Вып. до | Номер | AE |
|---|---|---|---|---|---|---|---|
| 01 | Стопорная шайба с упругими зубцами | A12,5 | 2 | 09.1979 | 07119936670 | E | |
| 02 | Упругая шайба | 11,2 / 19 | 8 | 09.1979 | 72111808672 | ||
| 03 | Болт с буртиком | 7/16"X22 | 4 | 09.1979 | 72111822963 | E | |
| 04 | Защитный колпак | ANTHRAZIT | 2 | 09.1979 | 72111808464 | E | |
| 05 | Защитный колпак | SCHWARZ | 2 | 09.1979 | 72111828567 | ||
| 06 | винт | 4 | 09.1979 | 72111845045 | E | ||
| 07 | Упорный диск | 4 | 09.1979 | 72111845046 | |||
| 08 | Прокладочная шайба | 4 | 09.1979 | 72111840586 | |||
| 09 | Зажим | 2 | 09.1979 | 72111862636 | AE | ||
| 09 | Зажим | 2 | 09.1979 | 72118469012 | |||
| 10 | Зажим | 2 | 09.1979 | 72111845044 | E | ||
| 10 | Зажим | 2 | 07.1981 | 72111862636 | AE | ||
| 10 | Зажим | 2 | 72118469012 | ||||
| 11 | Застежка | 2 | 09.1979 | 72111815734 | E | ||
| 12 | Упругая шайба | B5 | 2 | 09.1979 | 07119932047 | E | |
| 12 | Упругая шайба | B5 | 2 | 09.1979 | 07119932098 | ||
| 13 | Гайка шестигранная | M5 | 2 | 09.1979 | 07119922038 | ||
| 14 | Защитный колпак | REPA | 2 | 09.1979 | 72111830467 | E |