| № |
Наименование |
Дополнение |
Кол-во |
Вып. с |
Вып. до |
Номер |
AE |
| 01 |
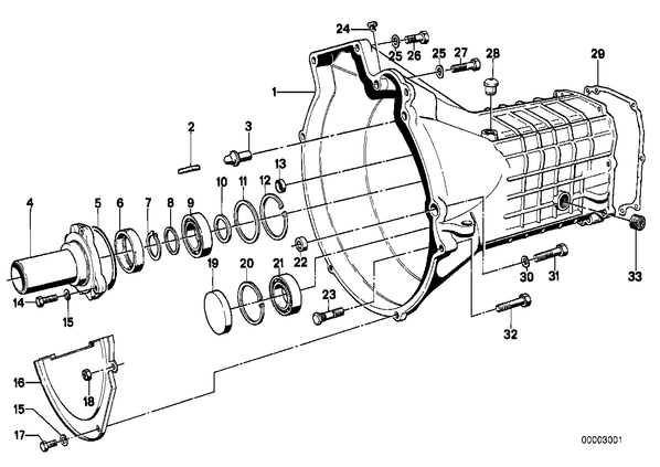
картер коробки передач |
|
1 |
06.1975 |
08.1977 |
23111205348 |
E |
| 02 |
Сукно |
|
1 |
|
08.1977 |
21511200214 |
E |
| 03 |
Шаровой палец |
H=15MM |
1 |
06.1975 |
08.1977 |
21511202659 |
|
| 04 |
Направляющая гильза |
|
1 |
06.1975 |
08.1977 |
23121205614 |
E |
| 05 |
Кольцо круглого сечения |
61,59X2,62 |
1 |
06.1975 |
08.1977 |
23121204578 |
|
| 06 |
Сальник |
30X48X10 |
1 |
|
08.1977 |
23121204211 |
E |
| 06 |
Сальник |
30X48X10 |
1 |
|
08.1977 |
23121205552 |
|
| 07 |
Стопорное кольцо |
A30X2,5 |
1 |
|
08.1977 |
23121630170 |
|
| 08 |
Опорный диск |
30X42X2,5 |
X |
|
08.1977 |
23121630150 |
|
| 08 |
Опорный диск |
30X42X2,4 |
X |
|
08.1977 |
23121630151 |
|
| 08 |
Опорный диск |
30X42X2,6 |
X |
|
08.1977 |
23211207172 |
|
| 08 |
Опорный диск |
30X42X2,65 |
X |
|
08.1977 |
23221224470 |
|
| 08 |
Опорный диск |
30X42X2,55 |
X |
|
08.1977 |
23221224469 |
|
| 08 |
Опорный диск |
30X42X2,45 |
X |
|
08.1977 |
23221224468 |
|
| 08 |
Опорный диск |
30X42X2,35 |
X |
|
08.1977 |
23221224467 |
|
| 08 |
Опорный диск |
30X42X2,3 |
X |
|
08.1977 |
23121630152 |
|
| 09 |
Радиальный шарикоподшипник |
62X30X16 |
1 |
|
08.1977 |
23121204198 |
|
| 10 |
Распорная шайба |
30X42X0,3 |
X |
|
08.1977 |
23121630161 |
|
| 10 |
Распорная шайба |
30X42X0,5 |
X |
|
08.1977 |
23121630162 |
E |
| 10 |
Распорная шайба |
30X42X0,4 |
X |
|
08.1977 |
23211204588 |
|
| 11 |
Распорная шайба |
50X62X0,3 |
X |
|
08.1977 |
23121200409 |
|
| 11 |
Распорная шайба |
50X62X0,4 |
X |
|
08.1977 |
23121204575 |
|
| 11 |
Распорная шайба |
50X62X0,5 |
X |
|
08.1977 |
23121204576 |
|
| 11 |
Распорная шайба |
50X62X1,0 |
X |
|
08.1977 |
23121606115 |
|
| 13 |
Крышка |
D=15MM |
5 |
|
08.1977 |
07119937228 |
|
| 14 |
Болт с шестигранной головкой |
M6X20-8.8-ZNS |
3 |
|
08.1977 |
07119913016 |
|
| 15 |
Упругая шайба |
B6 |
5 |
|
08.1977 |
07119932099 |
|
| 15 |
Упругая шайба |
B6-ZNS3 |
5 |
|
08.1977 |
07119904496 |
E |
| 16 |
Защитный щиток |
|
1 |
|
08.1977 |
21110670050 |
|
| 17 |
Болт с шестигранной головкой |
M6X16-8.8-ZNS3 |
2 |
|
08.1977 |
07119904357 |
|
| 18 |
Гайка шестигранная |
M8-8-ZNNIV SI |
1 |
|
08.1977 |
07119905515 |
|
| 19 |
Заглушка |
|
1 |
|
08.1977 |
23111606108 |
|
| 20 |
Стопорное кольцо |
52X2 |
1 |
|
08.1977 |
07119934723 |
|
| 21 |
Шариковый подшипник |
52X20X15 |
1 |
|
08.1977 |
23121204201 |
E |
| 21 |
Шариковый подшипник |
52X20X15 |
1 |
|
08.1977 |
23121220010 |
E |
| 21 |
Радиальный шарикоподшипник |
52X20X15 |
1 |
|
08.1977 |
23121231495 |
|
| 22 |
Центрирующая втулка |
D=14,5/12,6MM |
2 |
|
08.1977 |
23111606156 |
|
| 23 |
Болт с накатанной головкой |
|
2 |
|
08.1977 |
21511204289 |
E |
| 23 |
Болт с накатанной головкой |
|
2 |
|
08.1977 |
21511203012 |
|
| 24 |
Заглушка |
|
1 |
|
08.1977 |
23111200477 |
E |
| 25 |
Упругая шайба |
B8 |
8 |
|
08.1977 |
07119932095 |
AE |
| 25 |
Упругая шайба |
|
8 |
|
08.1977 |
07119904115 |
|
| 26 |
Болт с шестигранной головкой |
M8X35 |
2 |
|
08.1977 |
07119913676 |
|
| 27 |
Болт с шестигранной головкой |
M8X45-8.8-ZNS3 |
1 |
|
08.1977 |
07119902955 |
|
| 28 |
Штуцер для прокачки |
|
1 |
|
08.1977 |
23111224051 |
|
| 29 |
Уплотнительная прокладка безасбестовая |
|
1 |
|
08.1977 |
23121222356 |
|
| 30 |
Упругая шайба |
B10-ZNS |
3 |
|
08.1977 |
07119932122 |
E |
| 30 |
Упругая шайба |
B10-ZNS3 |
3 |
|
08.1977 |
07119904463 |
|
| 31 |
Болт с шестигранной головкой |
M10X50 |
2 |
|
08.1977 |
07119913859 |
|
| 32 |
Болт с шестигранной головкой |
M12X60-8.8-ZNT |
1 |
|
08.1977 |
07119905814 |
|
| 33 |
Резьбовая пробка |
M24X1,5 |
1 |
|
08.1977 |
27111226798 |
|