Комплект дооснащ.противотуманной фары для БМВ E12, модель 518
| № | Наименование | Дополнение | Кол-во | Вып. с | Вып. до | Номер | AE |
|---|---|---|---|---|---|---|---|
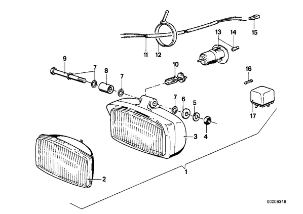
| 02 | Оптический элемент фары | 2 | 01.1974 | 04.1977 | 63171355602 | E | |
| 03 | фары противотуманные | 2 | 01.1974 | 04.1977 | 63171360393 | E | |
| 04 | Гайка шестигранная | M8-ZNS | 2 | 01.1974 | 04.1977 | 07119922856 | E |
| 04 | Гайка шестигранная | M8-8-ZNS3 | 2 | 01.1974 | 04.1977 | 07119904032 | |
| 04 | Гайка шестигранная | M8-8-ZNNIV SI | 2 | 01.1974 | 04.1977 | 07119905515 | |
| 05 | Пружинное кольцо | B8 | 2 | 01.1974 | 04.1977 | 07119933096 | |
| 06 | Проставка | 2 | 01.1974 | 04.1977 | 63171360567 | E | |
| 07 | Зубчатая шайба | A8,2 | 8 | 01.1974 | 04.1977 | 07119936191 | |
| 08 | Проставка | 2 | 01.1974 | 04.1977 | 63171357999 | E | |
| 09 | Болт с шестигранной головкой | M8X75 | 2 | 01.1974 | 04.1977 | 07119912553 | E |
| 09 | Болт с шестигранной головкой | M8X75-8.8-ZNS3 | 2 | 01.1974 | 04.1977 | 07119906028 | |
| 10 | Лампа накаливания | 12V 55W H1 | X | 01.1974 | 04.1977 | 63216926908 | AE |
| 10 | Лампа накаливания | 12V 55W H1 | X | 01.1974 | 04.1977 | 63217160777 | |
| 11 | Провода противотуманной фары | 1 | 01.1974 | 04.1977 | 61121355848 | ||
| 12 | Бандаж | L=292MM/B=4,8MM | 2 | 01.1974 | 04.1977 | 61131377134 | |
| 13 | Выключатель противотуманной фары | 1 | 01.1974 | 08.1976 | 61311355574 | ||
| 13 | Выключатель противотуманной фары | NEBEL VORNE | 1 | 01.1974 | 08.1976 | 61311363866 | E |
| 13 | Выключатель противотуманной фары | FRONT FOGLAMP | 1 | 01.1974 | 08.1976 | 61311363867 | |
| 14 | Лампа накаливания | 12V 1,2W | X | 01.1974 | 04.1977 | 07509063579 | AE |
| 14 | Лампа накаливания | 12V 1,2W | X | 01.1974 | 04.1977 | 63217167000 | |
| 15 | Корпус вилки разъема | 2 | 01.1974 | 04.1977 | 61131355290 | ||
| 16 | Предохранитель | 8A | 1 | 01.1974 | 04.1977 | 61138760138 | |
| 17 | реле | GELB | 1 | 01.1974 | 04.1977 | 61311373585 | E |
| 17 | Малое реле | 1 | 01.1974 | 04.1977 | 61311373588 |