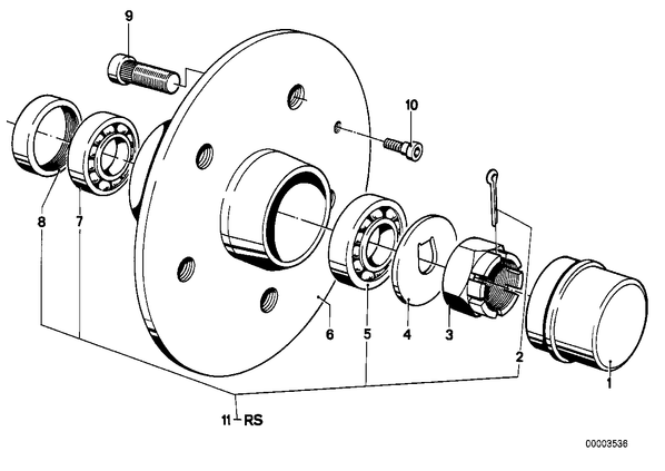
Подшипники ступицы колеса для БМВ E12, модель 528i
| № | Наименование | Дополнение | Кол-во | Вып. с | Вып. до | Номер | AE |
|---|---|---|---|---|---|---|---|
| 01 | Колпачок | 2 | 31212634120 | ||||
| 02 | Шплинт | 2 | 31211110140 | ||||
| 03 | Корончатая гайка | M16X1 | 2 | 31211104626 | |||
| 04 | Прокладочная шайба | 2 | 31212634115 | ||||
| 05 | Конический роликовый подшипник | 19X45,23X15,49 | 2 | 31212634103 | |||
| 06 | Ступица колеса | 2 | 02.1976 | 31211123434 | E | ||
| 07 | Конический роликовый подшипник | 31,7X59,13X15,8 | 2 | 31212634106 | |||
| 08 | Сальник | 45X62X7 | 2 | 31212634108 | |||
| 08 | Сальник | 2 | 31211106218 | E | |||
| 10 | Болт с внутренним шестигранником | M8X12 | 2 | 04.1977 | 34111123072 | ||
| 11 | Ремкомплект подшипника ступицы колеса | 2 | 31211107456 |