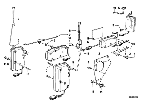
Запчасти из Германии / Запчасти БМВ / Запчасти E12 / 528i / Группы запчастей / Группа 41 «Кузов» / Центральный замок Центральный замок для БМВ E12, модель 528i № Наименование Дополнение Кол-во Вып. с Вып. до Номер AE 01 Кронштейн 1 09.1977 51251858098 E 02 Кронштейн Л 1 09.1977 51221853393 E 02 Кронштейн П 1 09.1977 51221853394 E 03 Винт со сферо-цилиндрической головкой M5X16-Z3-2 X 09.1977 07119906817 03 Болт с шестигранной головкой с шайбой M5X16-Z3 X 09.1977 07119915111 AE 04 Болт с шестигранной головкой с шайбой M6X16-SB-Z3-2 2 09.1977 07119915022 05 Предохранитель рычажного механизма 4 09.1977 51221817032 06 наконечник 3 09.1977 51216442159 AE 06 наконечник 3 09.1977 52208238999 07 Рычаг П 1 09.1977 51211852854 E 08 Рычаг Л 1 09.1977 51211858263 E 09 Соединительный элемент Л 1 09.1977 51221852721 E 09 Соединительный элемент П 1 09.1977 51221852722 E 10 Заклепка 1 09.1977 51211856937 E 11 Прокладка 1 09.1977 51471852859 AE 12 гофрированный кожух 1 09.1977 51251852771 13 Втулка 1 09.1977 51251857990 E 13 Втулка 1 09.1977 51258116266 14 Листовая гайка ST4,8-3 3 09.1977 07129901649 AE 14 Листовая гайка ST4,8-13-ZNS3 3 09.1977 07129904223 15 Винт самонарезающий со сферич.головкой ST4,8X13-Z1 3 09.1977 07119907956 16 Установочный винт 3 09.1977 61131365564 E 17 Упругая шайба B5 X 09.1977 07.1981 07119932047 E 17 Упругая шайба B5 X 09.1977 07119932098 18 Гайка шестигранная M5 X 09.1977 07119922038