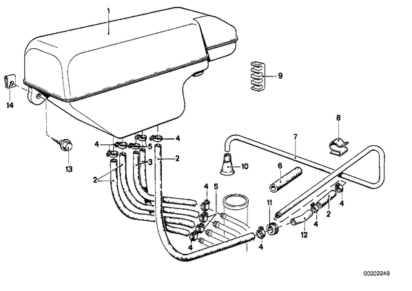
Расширит.бачок/трубопроводы для БМВ E23, модель 733i
| № | Наименование | Дополнение | Кол-во | Вып. с | Вып. до | Номер | AE |
|---|---|---|---|---|---|---|---|
| 01 | Расширительный бачок | 1 | 16121119988 | ||||
| 01 | Расширительный бачок | 1 | 16131122422 | E | |||
| 02 | Топливный шланг | 8X13MM | X | 06.1996 | 13311722262 | E | |
| 02 | Топливный шланг | 8X13MM | X | 16121180409 | |||
| 03 | Топливный шланг | 6X11MM | X | 13311272750 | |||
| 04 | хомут | L12-15 | X | 07129952104 | |||
| Для автомобилей с | |||||||
| Исполнение для Швеции | |||||||
| 05 | хомут | L10-12 | 4 | 01.1979 | 16111177646 | AE | |
| Для автомобилей с | |||||||
| Исполнение для Швеции | |||||||
| 05 | хомут | L=9-12 | 4 | 07129952102 | |||
| 06 | Резиновый раструб | 3 | 16124584137 | ||||
| 07 | Воздухоотводная труба | 1 | 16121119787 | E | |||
| 09 | Направляющая | 1 | 16121120181 | E | |||
| 10 | наконечник | 1 | 16121120951 | E | |||
| 11 | наконечник | 5 | 16121119376 | ||||
| 12 | Соединительная деталь | 1 | 34331111213 | ||||
| 13 | Саморез с шестигранной головкой | ST6,3X22-C-Z2 | 2 | 07119916971 | |||
| 14 | Листовая гайка | ST6,3-3 | 2 | 07129925744 | E |